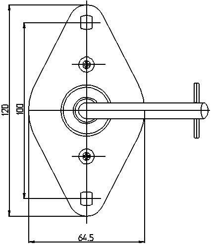
HUVUDSTRÖMBRYTARE, 250 A @ 12 V

K593
Lubrication nipple guard suitable for most types of grease nipples. Color: Red

Sign in to view stock status and price

To view stock status and your prices, you need to sign in to your account.

Name HUVUDSTRÖMBRYTARE, 250 A @ 12 V
Article number K593
By clicking 'Accept All' you consent that we may collect information about you for various purposes, including: Statistics and Marketing